Power-io heat sinks for multi-zone applications
heat sink high performance heat sink

heatsinks

eight 6 pack heatsinks

Eight "6-packs" with Power-io's HDD-6V15 IGBT hockey pucks = high speed PWM switching of 600 VDC and up to 720 total amps in a 30 x 23 inch area.

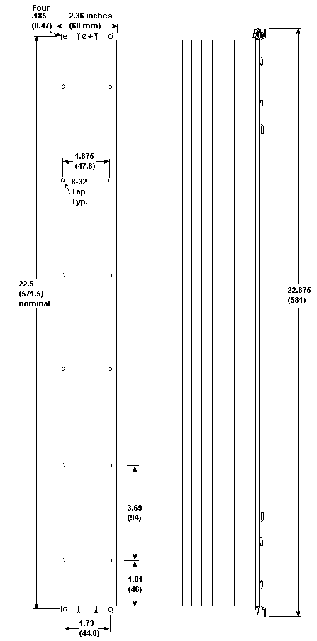
A "6 pack" uses a 22 inch aluminum extrusion, that is drilled and tapped for 6 solid state relays, every 3.7 inches. A "3 pack" uses an 11 inch aluminum extrusion that is drilled and tapped for 3 solid state relays. Some customers will drill and tap unique hole patterns for large amperage modules or other components.

There are some applications where the solid state relays are installed inside an aluminum electrical enclosure and the heatsink is installed outside the enclosure. In this way, the heat sink removes the warm air and dissipates it to the fresh air.

Return to the Power-io heat sink page.